登录-栖凤楼论坛,威客小姐网全国楼凤,栖凤阁论坛官网入口,广州一品香论坛地址

元器件的失效原因分析及常用的故障检测方法

日期:2021-11-17 14:12:43 浏览量:3289 标签: 元器件失效 元器件检测 失效分析

随着科学技术的发展,尤其是电子技术的更新换代,对电子设备所用的元器件的质量要求越来越高,半导体器件的广泛使用,其寿命经过性能退化,最终导致失效。失效分析(FA)是对已失效器件进行的一种事后检查。根据需要,采用电测试以及各种先进的物理、金相和化学分析技术,并结合元器件失效前后的具体情况及有关技术文件进行分析,以验证所报告的失效,确定元器件的失效模式、失效机理和造成失效的原因。全面系统的失效分析可以确定失效的原因,对于器件设计、制造工艺、试验或应用的改进具有指导作用,采取相应的纠正措施消除失效模式或机理产生的原因,从而实现器件以及装备整体可靠性的提高。

通过失效分析可以发现失效器件的固有质量问题,也有可能发现元器件因不按规定条件使用而失效的使用质量问题,通过向有关方面反馈,促使责任方采取纠正措施,以便消除所报告的失效模式或机理产生的原因,防止其再次出现,对提高元器件的固有质量或使用质量都起到十分重要的作用。

温度导致失效:元件失效的重要因素之一就是环境温度对元器件的影响。

温度变化对半导体器件的影响:

由于P-N结的正向压降受温度的影响较大,所以用P-N为基本单元构成的双极型半导体逻辑元件(TTL、HTL等集成电路)的电压传输特性和抗干扰度也与温度有密切的关系。当温度升高时,P-N结的正向压降减小,其开门和关门电平都将减小,这就使得元件的低电平抗干扰电压容限随温度的升高而变小;高电平抗干扰电压容限随温度的升高而增大,造成输出电平偏移、波形失真、稳态失调,甚至热击穿。

构成双极型半导体器件的基本单元P-N结对温度的变化很敏感,当P-N结反向偏置时,由少数载流子形成的反向漏电流受温度的变化影响,其关系为:

式中:

1.jpg

ICQ:温度T0C时的反向漏电流

ICQR:温度TR℃时的反向漏电流

T-TR:温度变化的绝对值

由上式可以看出,温度每升高10℃,ICQ将增加一倍。这将造成晶体管放大器的工作点发生漂移、晶体管电流放大系数发生变化、特性曲线发生变化,动态范围变小。

?温度与允许功耗的关系如下:

式中:

2.jpeg

PCM:最大允许功耗。

TjM:最高允许结温。

T:使用环境温度。

RT:热阻。

由上式可以看出,温度的升高将使晶体管的最大允许功耗下降。

温度变化对电阻的影响:

对于电阻温度变化的影响主要是在温度升高的时候。温度升高会引起例如,电阻的热噪声增加,阻值偏离标称值,允许耗散概率下降等。打比方说,RXT系列的碳膜电阻在温度升高到100℃时,允许的耗散概率仅为标称值的20%。

电阻的这一特性并不是只有坏处,比如,经过特殊设计的电阻:PTC(正温度系数热敏电阻)和NTC(负温度系数热敏电阻),它们的阻值受温度的影响很大,可以作为传感器。对于PTC,当其温度升高到某一阈值时,其电阻值会急剧增大。利用这一特性,可将其用在电路板的过流?;さ缏分校庇捎谀持止收显斐赏ü牡缌髟黾拥狡溷兄档缌骱?,PTC的温度急剧升高,同时,其电阻值变大,限制通过它的电流,达到对电路的?;ぁ6收吓懦?,通过它的电流减小,PTC的温度恢复正常,同时,其电阻值也恢复到其正常值。对于NTC,它的特点是其电阻值随温度的升高而减小。

温度变化对电容的影响:

3.jpg

温度变化将引起电容的到介质损耗变化,从而影响其使用寿命。温度每升高10℃时,电容器的寿命就降低50%,同时还引起阻容时间常数变化,甚至发生因介质损耗过大而热击穿的情况。

湿度导致失效:元件失效的重要因素之一就是环境湿度对元器件的影响。

湿度过高,当含有酸碱性的灰尘落到电路板上时,将腐蚀元器件的焊点与接线处,造成焊点脱落,接头断裂。湿度过高也是引起漏电耦合的主要原因。而湿度过低又容易产生静电,所以环境的湿度应控制在合理的水平。

过高电压导致失效:元件失效的重要因素之一就是过高电压对元器件的影响。

保证元器件正常工作的重要条件是施加在元器件上的电压要保证稳定性。过高的电压轻则会造成元器件的热损耗增加,重则会造成元器件的电击穿。就拿电容器来说,其失效率正比于施加在电容两端电压的5次幂。对于集成电路来说,超过其最大允许电压值的电压将造成器件的直接损坏。

电压击穿是指电子器件都有能承受的最高耐压值,超过该允许值,器件存在失效风险。主动元件和被动元件失效的表现形式稍有差别,但也都有电压允许上限。晶体管元件都有耐压值,超过耐压值会对元件有损伤,比如超过二极管、电容等,电压超过元件的耐压值会导致它们击穿,如果能量很大会导致热击穿,元件会报废。

振动、冲击导致失效:元件失效的重要因素之一就是振动、冲击对元器件的影响。

机械振动与冲击会使一些内部有缺陷的元件加速失效,造成灾难性故障,机械振动还会使焊点、压线点发生松动,导致接触不良;若振动导致导线不应有的接触,会产生一些意象不到的后果。

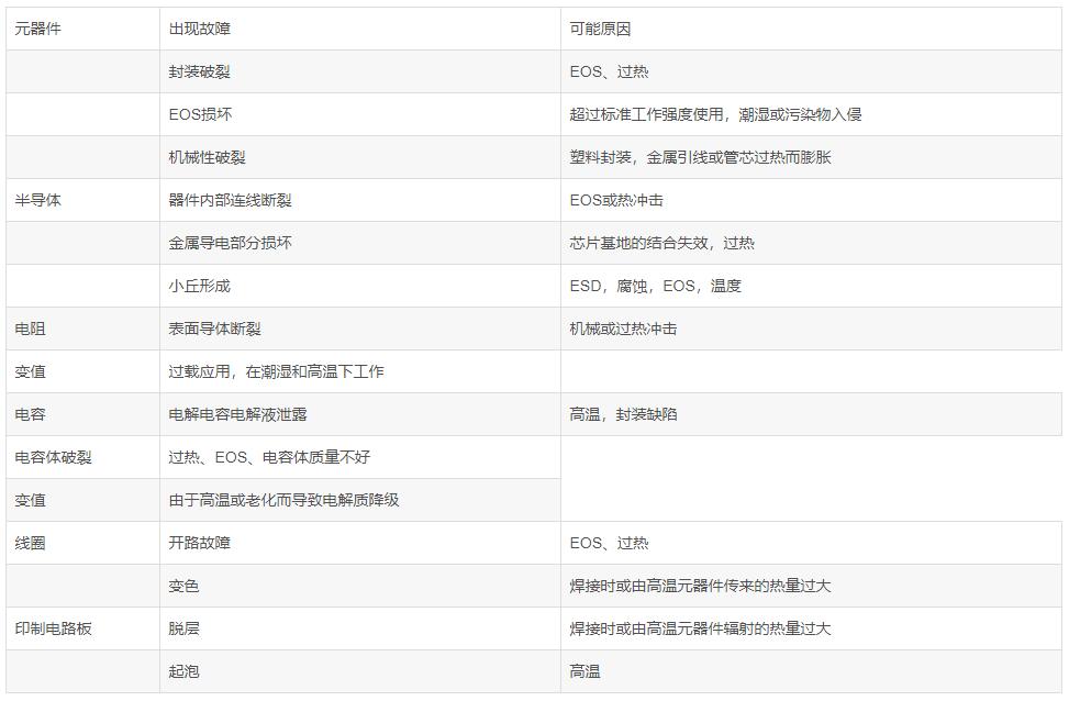
可能引起的故障模式,及失效分析:

4.jpg

?电阻失效分析:

电阻器电位器失效机理视类型不同而不同。非线形电阻器和电位器主要失效模式为开路、阻值漂移、引线机械损伤和接触损坏;线绕电阻器和电位器主要失效模式为开路、引线机械损伤和接触损坏。主要有以下四类:

碳膜电阻器。引线断裂、基体缺陷、膜层均匀性差、膜层刻槽缺陷、膜材料与引线端接触不良、膜与基体污染等。

●金属膜电阻器。电阻膜不均匀、电阻膜破裂、引线不牢、电阻膜分解、银迁移、电阻膜氧化物还原、静电荷作用、引线断裂、电晕放电等。

●线绕电阻器。接触不良、电流腐蚀、引线不牢、线材绝缘不好、焊点熔解等。

●可变电阻器。接触不良、焊接不良、接触**破裂或引线脱落、杂质污染、环氧胶不好、轴倾斜等。

电阻容易产生变质和开路故障。电阻变质后往往是阻值变大的漂移。电阻一般不进行修理,而直接更换新电阻。线绕电阻当电阻丝烧断时,某些情况下可将烧断处理重新焊接后使用。

电阻变质多是由于散热不良,过分潮湿或制造时产生缺陷等原因造成的,而烧坏则是因电路不正常,如短路、过载等原因所引起。电阻烧坏常见有两种现象,一种是电流过大使电阻发热引起电阻烧坏,此时电阻表面可见焦糊状,很易发现。另一种情况是由于瞬间高压加到电阻上引起电阻开路或阻值变大,这种情况,电阻表面一般没有明显改变,在高压电路经??煞⑾终庵止收舷窒蟮牡缱?。

可变电阻器或电位器主要有线绕和非线绕两种。它们共同的失效模式有:参数漂移、开路、短路、接触不良、动噪声大,机械损伤等。但是实际数据表明:实验室试验与现场使用之间主要的失效模式差异较大,实验室故障以参数漂移居多,而现场以接触不良、开路居多。

电位器接触不良的故障,在现场使用中普遍存在。如在电信设备中达9 0 % ,在电视机中约占8 7 %,故接触不良对电位器是致命的薄弱环节。造成接触不良的主要原因如下:

●接触压力太小、**应力松弛、滑动接点偏离轨道或导电层、机械装配不当,又或很大的机械负荷(如碰撞、跌落等)导致接触**变形等。

●导电层或接触轨道因氧化、污染,而在接触处形成各种不导电的膜层。

●导电层或电阻合金线磨损或烧毁,致使滑动点接触不良。

电位器开路失效主要是由局部过热或机械损伤造成的。例如,电位器的导电层或电阻合金线氧化、腐蚀、污染或者由于工艺不当(如绕线不均匀,导电膜层厚薄不均匀等)所引起的过负荷,产生局部过热,使电位器烧坏而开路;滑动触点表面不光滑,接触压力又过大,将使绕线严重磨损而断开,导致开路;电位器选择与使用不当,或电子设备的故障危及电位器,使其处于过负荷或在较大的负荷下工作。这些都将加速电位器的损伤。

?电容失效分析:

电容器常见的故障现象主要有击穿、开路、电参数退化、电解液泄漏及机械损坏等。导致这些故障的主要原因如下:

●击穿。介质中存在疵点、缺陷、杂质或导电离子;介质材料的老化;电介质的电化学击穿;在高湿度或低气压环境下极间边缘飞弧;在机械应力作用下电介质瞬时短路;金属离子迁移形成导电沟道或边缘飞弧放电;介质材料内部气隙击穿造成介质电击穿;介质在制造过程中机械损伤;介质材料分子结构的改变以及外加电压高于额定值等。

●开路?;鞔┮鸬缂鸵呔?电解电容器阳极引出箔被腐蚀断(或机械折断);引出线与电极接触点氧化层而造成低电平开路;引出线与电极接触不良或绝缘;电解电容器阳极引出金属箔因腐蚀而导致开路;工作电解质的干涸或冻结;在机械应力作用下电解质和电介质之间的瞬时开路等。

●电参数退化。潮湿与电介质老化与热分解;电极材料的金属离子迁移;残余应力存在和变化;表面污染;材料的金属化电极的自愈效应;工作电解质的挥发和变稠;电极的电解腐蚀或化学腐蚀;引线和电极接触电阻增加;杂质和有害离子的影响。

由于实际电容器是在工作应力和环境应力的综合作用下工作的,因而会产生一种或几种失效模式和失效机理,还会有一种失效模式导致另外失效模式或失效机理的发生。例如,温度应力既可以促使表面氧化、加快老化的影响程度、加速电参数退化,又会促使电场强度下降,加速介质击穿的早日到来,而且这些应力的影响程度还是时间的函数。因此,电容器的失效机理与产品的类型、材料的种类、结构的差异、制造工艺及环境条件、工作应力等诸因素等有密切关系。

电容器出现击穿故障非常容易发现,但对于有多个元件并联的情况,要确定具体的故障元件却较为困难。电容器开路故障的确定可通过将相同型号和容量的电容与被检测电容并联,观察电路功能是否恢复来实现。电容电参数变化的检查较为麻烦,一般可按照下面方法进行。

首先应将电容器的其中一条引线从电路板上烫下来,以避免周围元件的影响。其次根据电容器的不同情况用不同的方法进行检查。

●电解电容器的检查。将万用表置于电阻挡,量程视被测电解电容的容量及耐压大小而定。测量容量小、耐压高的电解电容,量程应位于R ×10kW 挡;测量容量大、耐压低的电解电容,量程应位于R × 1 k W 挡。观察充电电流的大小、放电时间长短(表针退回的速度)及表针最后指示的阻值。

电解电容器质量好坏的鉴别方法如下:

①充电电流大,表针上升速度快,放电时间长,表针的退回速度慢,说明容量足。

②充电电流小,表针上升速度慢,放电时间短,表针的退回速度快,说明容量小、质量差。

③充电电流为零,表针不动,说明电解电容器已经失效。

④放电到最后,表针退回到终了时指示的阻值大,说明绝缘性能好,漏电小。

⑤放电到最后,表针退回到终了时指示的阻值小,说明绝缘性能差,漏电严重。

●容量为1mF 以上的一般电容器检查。可用万用表电阻挡(R × 1 0 k W)同极性多次测量法来检查漏电程度及是否击穿。将万用表的两根表笔与被测电容的两根引线碰一下,观察表针是否有轻微的摆动。对容量大的电容,表针摆动明显;对容量小的电容,表针摆动不明显。紧接着用表笔再次、三次、四次碰电容器的引线(表笔不对调),每碰一次都要观察针是否有轻微的摆动。如从第二次起每碰一次表针都摆动一下,则说明此电容器有漏电。如接连几次碰时表针均不动,则说明电容器是好的。如果第一次相碰时表针就摆到终点,则说明电容器已经被击穿。另外,对于容量为1mF~20mF的电容器,有的数字万用表可以测量。

●容量为1 mF 以下的电容器检查。可以使用数字万用表的电容测量挡较为准确地测得电容器的实际数值。若没有带电容测量功能的数字万用表,只能用欧姆挡检查它是否击穿短路。用好的相同容量的电容器与被怀疑的电容器并联,检查它是否开路。

●电容器参数的精确测量。单个电容器容量的精确测量可使用LCR 电桥,耐压值的测量可采用晶体管特性测试仪。

?电感和变压器类失效分析:

此类元件包括电感、变压器、振荡线圈、滤波线圈等。其故障多由于外界原因所引起的,例如,当负载短路时,由于流过线圈的电流超过额定值,变压器温度升高,造成线圈短路、断路或绝缘击穿。当通风不良、温度过高或受潮时,亦会产生漏电或绝缘击穿的现象。

对于变压器的故障现象及原因,常见的有以下几种:当变压器接通电源后,若铁心发出嗡嗡的响声,则故障原因可能是铁心未夹紧或变压器负载过重;发热高、冒烟、有焦味或保险丝烧断,则可能是线圈短路或负载过重。

电感和变压器类元件的故障检查一般采用如下方法:

●直流电阻测量法。用万用表的电阻挡测电感类的元件的好坏。测天线线圈、振荡线圈时,量程应置于最小电阻挡(如R × 1 W 挡);测中周及输出输入变压器时,量程应放在低阻挡(R × 10W或R × 1 0 0 W 挡),测得的阻值与维修资料或日?;鄣木槭菹喽哉?,如果很接近则表示被测元件是正常的;如果阻值比经验数据小许多,表明线圈有局部短路;如果表针指示值为零,则说明线圈短路。应该注意的是,振荡线圈、天线线圈及中周的次级电阻很小,只有零点几欧姆,读数时尤其要仔细,不要误判断为短路。用高阻挡(R ×10kW)测量初级线圈与次级线圈之间的电阻时,应该是无穷大。如果初级、次级之间有一定的电阻值,则表示初级、次级之间有漏电。

●通电检查法。对电源变压器可以通过通电检查,看次级电压是否下降,如果次级电压则怀疑次级(或初级)有局部短路。当通电后出现变压器迅速发烫或有烧焦味、冒烟等现象,则可判断变压器肯定有局部短路。

●仪器检查法。可以使用高频率Q 表来测量电感量及其Q 值,也可以用电感短路仪来判断低频率线圈的局部短路现象。用兆欧表则可以测量电源变压器初、次级之间的绝缘电阻。若发现变压器有漏电现象则可能是绝缘不良或受潮所引起的,此时可将变压器拆下来去潮烘干。另外,调压变压器的各种碳刷或铜刷,在维护和所用不当的情况下极容易磨损,其碎片和积炭往往因短路部分的线圈烧毁而烧毁变压器,因此平时要注意维护。

微信扫码关注 CXOlab创芯在线检测实验室
相关阅读
五月芯资讯回顾:原厂涨价函不断,疫情影响供应链

刚刚过去的五月,全球多地疫情反弹,大宗商品涨价延续,IC产业链毫无意外,缺货涨价仍是主旋律。下面就来梳理一下过去的一个月,业内都有哪些值得关注的热点。

2021-06-04 11:16:00
查看详情
马来西亚管控延长,被动元件又悬了?

自五月以来,马来西亚疫情不断升温,每日新增确诊高峰曾突破9000例。严峻形势之下,马来西亚政府于6月1日开始执行为期半个月的全面行动管制。在这之后,每日新增病例呈现下降趋势。

2021-06-18 15:41:07
查看详情
内存市场翻转,涨价来袭!

据媒体近日报道,内存正在重回涨价模式,从去年12月到今年1月,涨幅最多的品种已达30%。据行情网站数据,各类内存条、内存颗粒在12月上旬起开始涨价,至今仍没有停止的意思。

2021-03-05 10:53:00
查看详情
被动元件涨价启动,MLCC和芯片打头阵

据台媒近日报道,MLCC两大原厂三星电机和TDK近期对一线组装厂客户发出通知,强调高容MLCC供货紧张,即将对其调涨报价。在芯片电阻市场,台厂国巨正式宣布从三月起涨价15-25%。紧接着,华新科也对代理商发出涨价通知,新订单将调涨10-15%。

2021-03-05 10:52:00
查看详情
深圳福田海关查获大批侵权电路板,共计超过39万个

据海关总署微信平台“海关发布”10日发布的消息,经品牌权利人确认,深圳海关所属福田海关此前在货运出口渠道查获的一批共计391500个印刷电路板,侵犯了UL公司的“RU”商标专用权。

2021-03-05 11:12:00
查看详情
可靠性测试:常规的可靠性项目及类型介绍

可靠性试验是对产品进行可靠性调查、分析和评价的一种手段。试验结果为故障分析、研究采取的纠正措施、判断产品是否达到指标要求提供依据。根据可靠性统计试验所采用的方法和目的,可靠性统计试验可以分为可靠性验证试验和可靠性测定试验??煽啃圆舛ㄊ匝槭俏舛煽啃蕴匦曰蚱淞恐刀龅氖匝?,通常用来提供可靠性数据??煽啃匝橹な匝槭怯美囱橹ど璞傅目煽啃蕴卣髦凳欠穹掀涔娑ǖ目煽啃砸蟮氖匝?,一般将可靠性鉴定和验收试验统称为可靠性验证试验。

2021-04-26 16:17:00
查看详情
产品进行可靠性测试的重要性及目的

产品在一定时间或条件下无故障地执行指定功能的能力或可能性。可通过可靠度、失效率还有平均无故障间隔等来评价产品的可靠性。而且这是一项重要的质量指标,只是定性描述就显得不够,必须使之数量化,这样才能进行精确的描述和比较。

2021-04-26 16:19:00
查看详情
汇总:半导体失效分析测试的详细步骤

失效分析是芯片测试重要环节,无论对于量产样品还是设计环节亦或是客退品,失效分析可以帮助降低成本,缩短周期。 常见的失效分析方法有Decap,X-RAY,IV,EMMI,FIB,SEM,EDX,Probe,OM,RIE等,因为失效分析设备昂贵,大部分需求单位配不了或配不齐需要的设备,因此借用外力,使用对外开放的资源,来完成自己的分析也是一种很好的选择。我们选择去外面测试时需要准备的信息有哪些呢?下面为大家整理一下:

2021-04-26 16:29:00
查看详情
芯片常用失效分析手段和流程

一般来说,集成电路在研制、生产和使用过程中失效不可避免,随着人们对产品质量和可靠性要求的不断提高,失效分析工作也显得越来越重要,通过芯片失效分析,可以帮助集成电路设计人员找到设计上的缺陷、工艺参数的不匹配或设计与操作中的不当等问题。芯片失效分析的常用方法不外乎那几个流程,最重要的还是要借助于各种先进精确的电子仪器。以下内容主要从这两个方面阐述,希望对大家有所帮助。

2021-04-26 16:41:00
查看详情
值得借鉴!PCB板可靠性测试方法分享

PCB电路板是电子元件的基础和高速公路,又称印刷电路板,是电子元器件电气连接的提供者。它的发展已有100多年的历史了;它的设计主要是版图设计;采用电路板的主要优点是大大减少布线和装配的差错,提高了自动化水平和生产劳动率。PCB的质量非常关键,要检查PCB的质量,必须进行多项可靠性测试。这篇文章就是对测试的介绍,一起来看看吧。

2021-04-26 16:47:42
查看详情